Sale Off
Skruvschackel klass 3 rak Gunnebo Industrier

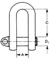
Enligt SMS 1577 typ C. Rak med fläns på bulten. Smidd, galvaniserad. Schacklarna är stämplade med rekommendation av maxlast. Säkerhetsfaktor 4,5:1

ProductMått Ø`MaxlastKättingdimensionDimension maskingängaMått AMått BMått CMått DMått EMått FMått GMått HMått LMått MMått TMått PMått QMått Ø1Mått Ø2
108370107
SCHACKEL RAK KL3 10MM
0,6TONTONM1015 MM30 MM
108370206
SCHACKEL RAK KL3 12MM
0,9TONM1220 MM39 MM
108370305
SCHACKEL RAK KL3 16MM
1,5TONM1624 MM52 MM
108370404
SCHACKEL RAK KL3 20MM
2,4TONM2028 MM65 MM

RELATERADE PRODUKTER

Lyftschacklar