Utsalg
Skrue rister klasse 3 rett Gunnebo Industrier

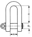
I henhold til SMS 1577 type C. Rett med flens på bolt. Smidd, galvanisert. Sjaklene er stemplet med anbefaling av maksimal belastning. Sikkerhetsfaktor 4,5:1

ProduktDimensjoner Ø`Maksimal belastningKjededimensjonMaskintråddimensjonDimensjon ADimensjon BDimensjon CDimensjoner DDimensjoner EDimensjoner FDimensjoner GDimensjoner HDimensjoner LDimensjoner MDimensjon TDimensjoner PDimensjoner QDimensjoner Ø1Dimensjoner Ø2
108370107
SJAKKEL RETT KL3 10MM
0,6TONTONM1015 MM30 MM
108370206
SJAKKEL RETT KL3 12MM
0,9TONM1220 MM39 MM
108370305
SJAKKEL RETT KL3 16MM
1,5TONM1624 MM52 MM
108370404
SJAKKEL RETT KL3 20MM
2,4TONM2028 MM65 MM

RELATERTE PRODUKTER

løftesjakler